Product Summary
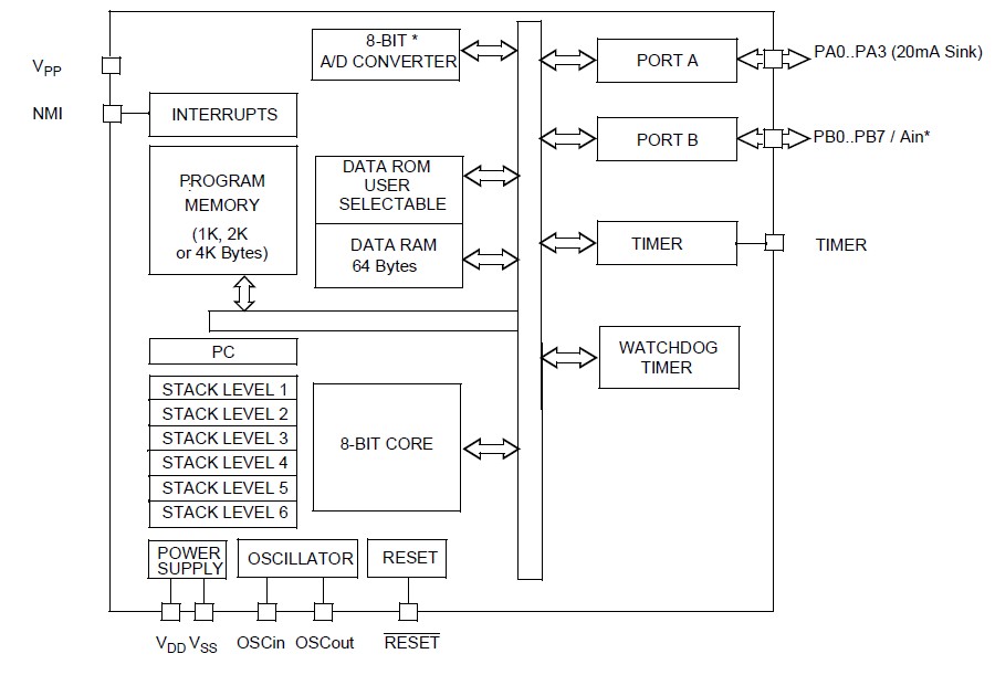
The ST62T10CM6 is an 8-bit MCUs with A/D converter. It is based on a building block approach: a common core is surrounded by a number of on-chip peripherals. OTP and EPROM devices are functionally identical. OTP devices offer all the advantages of user programmability at low cost, which make them the ideal choice in a wide range of applications where frequent code changes, multiple code versions or last minute programmability are required.
Parametrics
ST62T10CM6 absolute maximum ratings: (1)VDD - VSS Supply voltage: 7V; (2)VIN Input voltage on any pin: VSS-0.3 to VDD+0.3 V; (3)VOUT Output voltage on any pin VSS-0.3 to VDD+0.3 V; (4)VESD(HBM) Electro-static discharge voltage (Human Body Model): 3500 V; (5)TSTG Storage temperature range: -60 to +150 ℃; (6)IVDD Total current into VDD power lines (source): 80mA; (7)IVSS Total current out of VSS ground lines (sink): 100mA.
Features
ST62T10CM6 features: (1)Interrupt Management: 4 interrupt vectors plus NMI and RESET; 12 external interrupt lines (on 2 vectors); (2)12 I/O Ports: 12 multifunctional bidirectional I/O lines; 8 alternate function lines; 4 high sink outputs (20mA); (3)2 Timers: Configurable watchdog timer; 8-bit timer/counter with a 7-bit prescaler; (4)Analog Peripheral: 8-bit ADC with 4 or 8 input channels(except on ST6208C).
Diagrams

| Image | Part No | Mfg | Description | ![]() |
Pricing (USD) |
Quantity | ||||||||||||
|---|---|---|---|---|---|---|---|---|---|---|---|---|---|---|---|---|---|---|
![]() |
![]() ST62T10CM6 |
![]() STMicroelectronics |
![]() 8-bit Microcontrollers (MCU) OTP EPROM 2K No Intf |
![]() Data Sheet |
![]()
|
|
||||||||||||
| Image | Part No | Mfg | Description | ![]() |
Pricing (USD) |
Quantity | ||||||||||||
![]() |
![]() ST62 |
![]() Other |
![]() |
![]() Data Sheet |
![]() Negotiable |
|
||||||||||||
![]() |
![]() ST62 & ST7 |
![]() Other |
![]() |
![]() Data Sheet |
![]() Negotiable |
|
||||||||||||
![]() |
![]() ST6200C |
![]() Other |
![]() |
![]() Data Sheet |
![]() Negotiable |
|
||||||||||||
![]() |
![]() ST6200QNL |
![]() Pulse |
![]() Transformers Audio & Signal POWER IND |
![]() Data Sheet |
![]()
|
|
||||||||||||
![]() |
![]() ST622XC-KIT/110 |
![]() STMicroelectronics |
![]() Development Boards & Kits - Other Processors ST622X Starter Kit |
![]() Data Sheet |
![]() Negotiable |
|
||||||||||||
![]() |
![]() ST6240B-EMU2 |
![]() STMicroelectronics |
![]() Emulators / Simulators ST62 Emulator Board |
![]() Data Sheet |
![]() Negotiable |
|
||||||||||||
(China (Mainland))










